Marine Cast Steel Pneumatic Oil Tank Quick Closing Valve JIS F7399 5K:
China Marine Cast Steel Pneumatic Oil Tank Quick Closing Valve JIS F7399 5K:
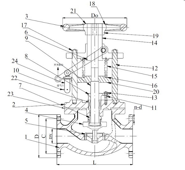
Marine Quick Closing Valve JIS F7399 is used to close the fuel oil/lubrication oil tank in emergency. It can be controlled remotely with the air cylinder.
Technical Specification:
1.Design & Manufacturing Standard:JIS F7399
2.Inspection & Test Standard: JIS F7400
3.Flange Standard: JIS B2220 FF 5K
4.Water Pressure Test:
a)Body Test Pressure: 7kg/cm2 (7bar,0.7Mpa)
b)Seat(Seal) Test Pressure:2kg/cm2 (2bar, 0.2Mpa)
c)Seal for Quick Closing:1kg/cm2 (1bar,0.1Mpa)
5.Suitable Medium: Fuel Oil, Lubrication Oil, Diesel Oil
6.Working Temperature:-20℃~+150℃
7. Material: Cast Steel, Bronze, Brass, Nodular IronMain Material:
Body: Cast Steel / Nodular Iron
Bonnet: Cast Steel / Nodular Iron
Seat: Brass
Disc: Brass
Stem: Brass
Air Cylinder: Brass
Operation Lever: SUS403
Handwheel: FC200 (Cast iron)
Main Size List(mm):
| DN | L | D | C | No of bolt hole | bolt hole diameter | flange thickness | H | D2 |
| 40 | 160 | 120 | 95 | 4 | 15 | 12 | 310 | 140 |
| 50 | 210 | 130 | 105 | 4 | 15 | 14 | 335 | 160 |
| 65 | 250 | 155 | 130 | 4 | 15 | 14 | 395 | 180 |
| 80 | 280 | 180 | 145 | 4 | 19 | 18 | 420 | 180 |
| 100 | 340 | 200 | 165 | 8 | 19 | 18 | 510 | 224 |
| 125 | 410 | 235 | 200 | 8 | 19 | 20 | 440 | 250 |
| 150 | 480 | 265 | 230 | 8 | 19 | 22 | 520 | 320 |





